三星手机新设计专利曝光:可伸缩式显示屏
点击率:1177 来源: 作者: 发布日期:2019-10-17


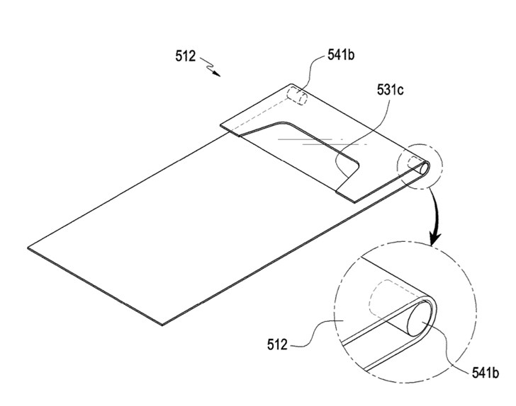
据了解,近日三星手机向美国专利商标局(USPTO)提交的专利说明曝光,专利草图中展示了一种具有柔性屏幕的智能手机。说明中提到,这款手机在标准模式中屏幕的宽高比为16:9,看不到前置摄像头和各种传感器。如果用户需要自拍、视频通话或者想扩大屏幕面积,可以通过手机上方的旋转装置将手机屏幕伸长,变成18:9的宽高比。
当屏幕完全伸长时,可以看到,采用了刘海屏设计,前置摄像头和传感器都“藏”在这个“刘海”里。目前尚不清楚上方旋转装置的运行方式,91mobiles猜测可能是检测到打开的相机应用程序或使用专用按键时会自动运行。此外,整个手机带有一个额外的后部面板,旋转装置和部分显示屏封装在里面。
上一篇:降血压、抗感冒还能防脱发?大蒜好处竟然这么多 下一篇:华为三季度经营业绩公布:业务稳定推翻"遭重创"言论